登录

保时捷申请可变色车身拉花专利,还能用不同颜色显示电量状态


速读:据外媒 motor1 今日(4 月 10 日)报道,保时捷申请了一项用于隐藏赛车条纹的新专利。 保时捷申请可变色车身拉花专利,还能用不同颜色显示电量状态2026年04月10日12:59IT之家IT之家4月10日消息,据外媒motor1今日(4月10日)报道,保时捷申请了一项用于隐藏赛车条纹的新专利。
2026年04月10日 12:59

IT之家 4 月 10 日消息,据外媒 motor1 今日(4 月 10 日)报道,保时捷申请了一项用于隐藏赛车条纹的新专利。该技术采用被称为 电子纸或顺磁涂层 的薄膜材料,可应用于车身外部,并在施加电压时改变颜色。

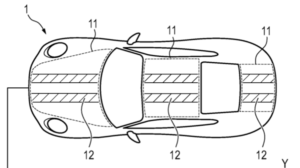
专利文件展示了多种应用方式,其中最引人关注的是 可隐藏的赛车拉花 。根据德国专利描述,专利中的拉花可以根据车辆驾驶模式改变颜色,例如 节能模式显示为绿色、运动模式显示为红色 ,或通过按键完全隐藏。

示意图还显示,这种薄膜可应用于 后轮后方以及后扩散器区域 。此外,专利提到,还可在纯电车型上利用该技术 直接在车身外部显示电量状态 。

IT之家从报道中获悉,这一技术颇具新意,不过并非全新概念。汽车制造商早已使用可随电流变化而改变透光度的电致变色玻璃,而此次披露的技术,则是在此基础上的进一步延伸。

关键词 :

保时捷 赛车

新浪众测

新浪众测

新浪科技公众号

新浪科技公众号

“掌”握科技鲜闻 (微信搜索techsina或扫描左侧二维码关注)

“不好看就退票”服务,能救电影院吗?

微信封禁自家“兄弟”红包,打的什么牌?

华住,比携程还会捞金?

李佳琦“宣布退休”?消失两个月真相曝光,这波全网都被带偏了

【评论】AI写号狂赚200万被封?没有温度的流量生意注定走不远

SBTI人格测试爆火上热搜!网站一度挤崩 网友晒尤物吗喽等标签自嘲调侃

四部门部署规范动力及储能电池产业竞争秩序

夫妻AI写公众号年赚200万 博主高调宣传 微信明确表态

大疆创始人汪滔:脱离钱谈激励都是PUA 大疆离职潮几乎全部创业

苹果妥协了!2026款产品允许用户自主更换电池和屏幕

国际丨韩国一动物园内一公狼挖洞“越狱” 当地动用母狼引诱

《人民日报》点赞张雪、冯骥、王兴兴:中国正涌现出越来越多兴趣导向型创新

全网刷屏的SBTI测试竟是AI做的!作者:我不是心理学毕业 初衷是为了劝朋友戒酒

主题:保时捷|拉花