苹果专利构想未来iPhone变健康检测仪,对着手机呼气就能查病
IT之家 4 月 1 日消息,科技媒体 Appleinsider 昨日(3 月 31 日)发布博文,聚焦苹果公司最新获批的专利, 名为“带呼气传感系统的电子设备”,暗示未来 iPhone 有望直接内置呼气检测仪。
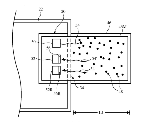
根据专利场景描述,未来 iPhone 外壳会开辟专属传感器窗口,未来用户只需拿起靠近并正常呼吸,手机端就能敏锐捕捉健康异常。
在技术实现方面,IT之家援引博文介绍,该专利系统主要依赖红外光源运转。用户呼出气体经过传感器后,红外光束会穿透气体,专门捕捉含有特定目标气体分子的呼气样本。
这些分子可以充当关键生物标志物,iPhone 随后对比采集数据和医学数据库, 一旦发现指标异常,手机会推送就医建议,可以检测高胆固醇和糖尿病等潜在疾病。
苹果公司为了提升采集准确度,在专利中提及调用多重传感器协同工作,例如利用可见光相机和红外深度相机,精确测算面部与传感器的物理距离,若距离过远,iPhone 主动提醒用户靠近。
此外为了确保红外光束始终精准对准用户的口腔,苹果在专利中还构想了光束转向器,能根据人脸位置自动微调。
在适用设备方面,该专利虽然主要用于 iPhone,但文档明确提及适用 Apple Watch 和智能汽车。
关键词 :
iPhone 专利 传感器 苹果专利 检测仪



新浪科技公众号
“掌”握科技鲜闻 (微信搜索techsina或扫描左侧二维码关注)

“不好看就退票”服务,能救电影院吗?
微信封禁自家“兄弟”红包,打的什么牌?
华住,比携程还会捞金?
高德正式全量开源ABot-M0:一个大脑适配多形态具身机器人
鸿蒙史上最强阔折叠!华为Pura X2外观偷跑
特斯拉确认 Robotaxi 特定情况下将由人工远程接管:系“最后手段”
华为发布2025年年报:净利润680亿元!研发投入1923亿
首款大屏阔折叠!华为Pura X2外观出炉:横置相机模组 极具辨识度
全网疯传fork!刚刚,Claude Code源代码泄露被开源了
一天体验卡到期!一觉醒来国行版苹果AI被收回 iPhone用户继续等
苹果 50 周年:库克敲响纳斯达克开盘钟
铜师傅上市首日破发,股价跌近50%!曾获小米投资,所处赛道高度细分且规模有限
足足51万行!明星AI编程工具Claude Code源码意外泄露
已有惨剧发生!张雪机车再回应禁止新手购买820RR:希望少死几个人
市值约20亿元!宁德时代曾毓群再现大手笔捐赠:助力母校上海交大
笑喷!张雪接受媒体采访太耿直 网友:这是能播的吗
央视力挺小米新SU7安全性:碰撞测试满分、2200MPa超强钢等构筑安全准线
85万豪车发动机遭4S店偷梁换柱:车主6年后才发现
价格战打赢了,比亚迪却更难了
张雪机车的冠军赛车上这六个字火了!村民感动:看到直播眼泪都快出来了
3秒一架!中国无人机蜂群铺天盖地饱和突击
广汽昊铂 HT 豪华智能大五座 SUV 启动 4 月优惠,限时一口价 15.99 万元起
一汽-大众迈腾“35 周年严选款”汽车上市:15 英寸中控屏、配电动尾门,17.99 万元
主题:苹果