入主上纬新材后,智元机器人再入股一家具身智能公司|界面新闻·科技
智元机器人直接对外投资公司已超40家,间接对外投资公司12家。
宋佳楠 · 来源:界面新闻
图片来源:视觉中国
界面新闻记者 | 宋佳楠
11月28日,界面新闻从天眼查网站获悉,智身科技(北京)有限公司发生工商变更,新增智元机器人关联公司智元创新(上海)科技股份有限公司为股东,同时注册资本由约2132.6万元增至约2149.9万元。

智身科技(北京)有限公司股东情况 数据来源:天眼查
智身科技成立于2023年12月,法定代表人为黄坤,经营范围涵盖智能机器人的研发、物联网设备制造、智能机器人销售、人工智能理论与算法软件开发等多领域。公开信息显示,在具身智能领域,该公司主要覆盖从核心零部件研发到整机智能制造的全流程。公司现由管明尧、傅建荣、天津海海企业管理咨询合伙企业(有限合伙)及上述新增股东等共同持股。
这也是智元机器人对外投资的最新动作,但未公布具体的持股比例。天眼查网站显示,目前智元机器人直接对外投资的公司已超40家,间接对外投资公司12家。

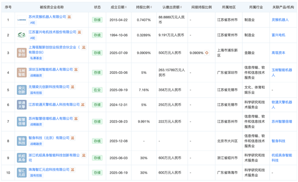
智元机器人部分对外投资情况 数据来源:天眼查
智元机器人(AgiBot)是成立于2023年2月的中国智能机器人品牌,隶属于上海智元新创技术有限公司。其由前华为 “天才少年”彭志辉(稚晖君)创立。
公司成立后已完成多轮融资,并发布首款双足人形机器人“远征A1”。2024年,智元机器人推出“远征”与“灵犀”系列五款商用机型,灵犀X1 later面向全球正式开源。

进入2025年,其实现通用机器人量产,累计下线超千台,还发布了四足机器人D1系列、灵犀X2、智元精灵G2等产品,并推出灵创平台。
加快开发机器人相关产品的同时,该公司在资本运作和产业布局上动作频繁。成立至今,其已投资或与外部各类产业方、机构等合资设立众多公司,业务方向广泛,涵盖具身智能领域的本体及大模型、关键零部件等。
在本体及大模型领域,智元投资了数字华夏、首形科技、灵初智能、星源智机器人等公司。其中,数字华夏与智元机器人联合开发了仿生机器人夏澜。灵初智能推出的Psi R1模型,具备基于“Chain of Action Thought (CoAT)” 框架的自主推理能力。
在关键零部件企业方面,智元也有涉足,投资了千觉机器人、灵猴机器人、富兴电机等。千觉机器人的核心产品包括高分辨率多模态触觉传感器等;灵猴机器人的产品涵盖视觉部件以及直线电机等运动部件;富兴电机则生产全系列伺服电机等产品。从所投资的企业主营业务来看,智元机器人或希望借此提升其供应链的稳定性,推动本体开发与零部件技术协同发展。
除上述投资外,智元机器人近期最受外界关注的动作无疑是入主上纬新材。11月6日,智元机器人完成对上纬新材的要约收购,持有上纬新材2.4亿股股份,占总股本的58.6232%,其一致行动人共计持有上纬新材2.6亿股股份,占总股本的63.6232%。
11月25日晚间,上纬新材发布公告称,董事会会议选举彭志辉为第四届董事会董事长,田华为首席执行官(CEO),并担任法定代表人。同时,董事会还选举了多位董事及管理人员。
此前,市场曾传出智元机器人计划明年在香港上市,估值为51亿美元至64亿美元,但智元相关负责人已否认该消息。而上纬新材也在公告中表示,短期内智元创新不存在借壳上市的计划。